OEM 2,4-mm-HF-Koaxialstecker Supplier

Ningbo Hanson Kommunikationstechnologie Co., Ltd. Heim / Produkte / HF-Koaxialstecker / 2,4-mm-HF-Koaxialstecker

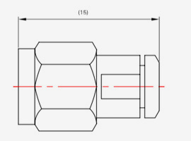
2,4-mm-HF-Koaxialstecker

Beschreibung:

Der Steckverbinder der 2,4-mm-Serie ist ein Hochfrequenz-HF-Steckverbinder, der für hochpräzise Hochfrequenzanwendungen entwickelt wurde, insbesondere für Signalübertragungsanlässe, die einen Übertragungsfrequenzbereich von 40 GHz oder sogar höher erfordern. Es ist eine ideale Wahl für die Bereitstellung leistungsstarker Signalverbindungen im Mikrowellenfrequenzband, für Hochgeschwindigkeitskommunikation sowie für Präzisionstests und -messungen.

Parameter:

Wichtigste technische Spezifikationen:
◆ Charakteristische Impedanz: 50 Ω
◆ Frequenzbereich: DC-50 GHz
◆ Isolationswiderstand: ≥5000 MΩ
◆ Dielektrische Spannungsfestigkeit: 500 V (rms)
◆ Spannungs-Stehwellenverhältnis (VSWR): ≤1,35
◆ Steckzyklen: 500 Mal

Erkundigen

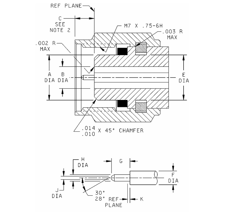
Brief Millimeter (Zoll)
Minimum Maximal
A 4,725 (.186) 4,75(.187)
B 2,393 (0,094) 2.408(095)
C 1,85 (0,073) 2,45 (0,096)
E 4,75 (0,187) 4,85(.191)
F 1,035(0,0407) 1,05 (0,0413)
G 1,34 (0,053) 1,45 (0,057)
H 0,498 (0,0196) 0,523 (.0206)
J ---------- 0,25 (0,010)
K 0,00 (.000) 0,08 (0,003)

Hinweise:
1. Die Gewindelänge beträgt ab dem Ende der Überwurfmutter mindestens 4,37 mm (0,172 Zoll), 0,63 mm (0,025 Zoll) ± 0,25 mm (0,010 Zoll).
2. Mit in Vorwärtsrichtung vorgespannter Überwurfmutter.
3. Die Abmessungen sind in Millimetern angegeben.
4. Zoll-Pfund-Äquivalente werden nur zur Information angegeben.
5. Senkbohrung mindestens 7 mm (0,276 Zoll).

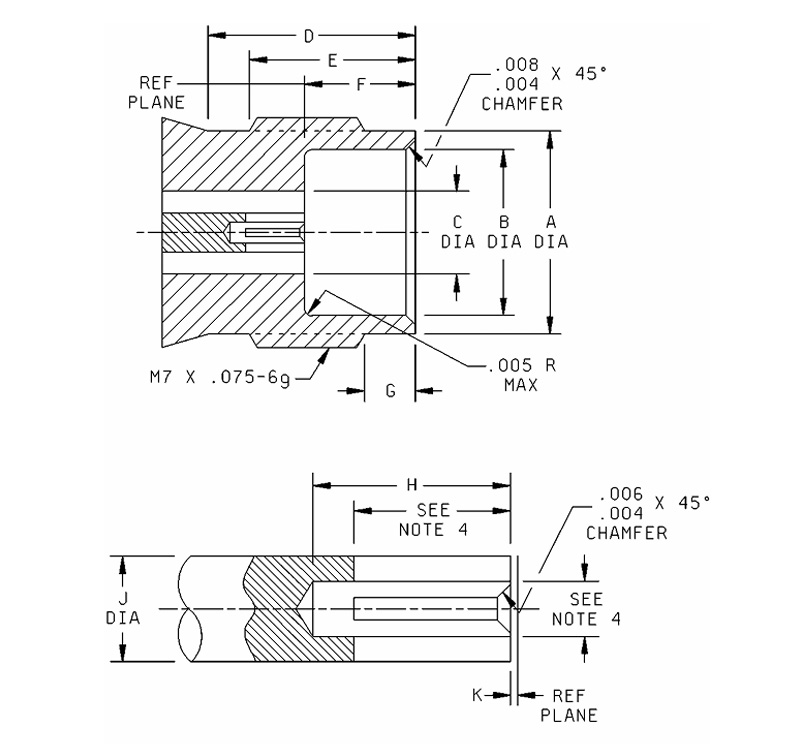
Brief Millimeter (Zoll)
Minimum Maximal
A 4,725(.186) 4,75 (187)
B 2,393 (0,094) 2,408 (0,095)
C 1,85 (0,073) 2,45 (0,096)
E 4,75 (0,187) 4,85 (.191)
F 1,035(0,0407) 1,05 (0,0413)
G 1,34 (0,053) 1,45 (0,057)
H 0,498 (.0196) 0,523 (0,0206)
J -------- 0,25 (0,010)
K 0,00(.000) 0,08 (0,003)

Hinweise:
1. Die Gewindelänge beträgt ab dem Ende der Überwurfmutter mindestens 4,37 mm (0,172 Zoll), 0,63 mm (0,025 Zoll) ± 0,25 mm (0,010 Zoll).
2. Mit in Vorwärtsrichtung vorgespannter Überwurfmutter.
3. Die Abmessungen sind in Millimetern angegeben.
4. Zoll-Pfund-Äquivalente werden nur zur Information angegeben.
5. Senkbohrung mindestens 7 mm (0,276 Zoll).

2,4 mm SERIES
  • 2.4-JB2
    2.4-JB2
    Modell Kabeltyp
    2.4-JB2 SFT-50-2,670-086
  • 2.4-J125
    2.4-J125
    Modell Kabeltyp
    2.4-J125 125
  • 2.4-J230
    2.4-J230
    Modell Kabeltyp
    2.4-J230 MILFLEX230

DEN KONTAKT HALTEN

[#Eingang#]
SENDEN
Über uns
Ningbo Hanson Kommunikationstechnologie Co., Ltd.
Ningbo Hanson Kommunikationstechnologie Co., Ltd.
Ningbo Hanson Communication Technology Co., Ltd. is China 2,4-mm-HF-Koaxialstecker Supplier and Custom 2,4-mm-HF-Koaxialstecker Company. We are a manufacturer specializing in the production, processing, and trade of communication components, with more than 30 years of experience in RF coaxial connectors, adapters, and cable assemblies. Das Unternehmen hat mittlerweile eine eigene Bearbeitungswerkstatt, eine Galvanikwerkstatt, eine Montagewerkstatt und eine Gruppe stabiler und zuverlässiger Lieferanten aufgebaut. Der Zweck des Unternehmens besteht darin, den Kunden qualitativ hochwertige Produkte anzubieten. Die wichtigsten Produkte sind HF-Koaxialsteckverbinder, Adapter, Hochfrequenzkabelbaugruppen und Kabelbaugruppen mit geringer Intermodulation. Darüber hinaus kann das Unternehmen auch Dienstleistungen für Kunden mit individuellen Bedürfnissen anbieten, um den besonderen Anforderungen der Kunden an Produkte gerecht zu werden. Die Produkte des Unternehmens werden häufig in der Luft- und Raumfahrt, in Kommunikationsbasisstationen, in medizinischen Geräten und anderen High-Tech-Bereichen eingesetzt. Im Zuge der Unternehmensreform, der Innovation, der Entwicklung und des Wachstums ergriff das Unternehmen die Initiative, sich dem internationalen Qualitätsmanagementsystem ISO9001 anzuschließen und die Managementebene kontinuierlich zu verbessern, um neuen und alten Kunden zufriedenstellendere Produkte und Dienstleistungen anbieten zu können.
Neueste Nachrichten
Suchen Sie nach einer Geschäftsmöglichkeit?

Fordern Sie noch heute einen Anruf an